N°6 Tisch - PragmaTISCH

Designer – David Jorquera
Zeitaufwand: ca. 4 h
Materialkosten:
Tischunterkonstruktion – CHF 32
Tischplatte – CHF 60 - 200
Schwierigkeit: ![]()

Dieser Tisch ist, wie der Name schon verrät, sehr pragmatisch. Er lässt sich ganz einfach auseinandernehmen und ist trotzdem sehr stabil.
Das Braucht’s:
Werkzeuge
Eine Säge (oder Stichsäge)
Massband oder Zollstock
Bleistift
Bohrer
Dübelanreisser
Material
Insgesamt brauchst du 3.38 m (6 x 3 cm) Latten,die du dann auf die richtige Länge zuschneidest.
4 (A) Latten 70 x 6 x 3 cm
4 (B) Latten 44 x 6 x 3 cm
1 (C) Latte 130 x 6 x 3 cm
2 (D) Latten 80 x 6 x 3 cm
1 (E) Teil 3 x 6 x 3 cm
1 Tischplatte z.B. 180 x 100 cm
18 Dübel (30 x 6 mm)
Schnittliste


Schritt 1:
Bohre als Erstes je zwei 15 mm tiefe Löcher an beiden Stirnseiten der Latte B. Diesen Schritt führst du für alle Latten B aus. Als Hilfe dafür kannst du die Tiefe mit einem Klebband markieren oder einen Stopper benutzen. Wie man Dübelverbindungen macht, kannst du auch in der Videoanleitung nachschauen.
Bohre als Erstes je zwei 15 mm tiefe Löcher an beiden Stirnseiten der Latte B. Diesen Schritt führst du für alle Latten B aus. Als Hilfe dafür kannst du die Tiefe mit einem Klebband markieren oder einen Stopper benutzen. Wie man Dübelverbindungen macht, kannst du auch in der Videoanleitung nachschauen.

Schritt 2:
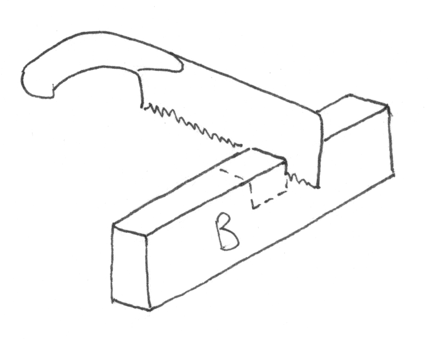
Aus der Latte B musst du nun einen Schlitz heraussägen. Dies musst du bei zwei Latten B machen. Schlitz ausschneiden
Aus der Latte B musst du nun einen Schlitz heraussägen. Dies musst du bei zwei Latten B machen. Schlitz ausschneiden

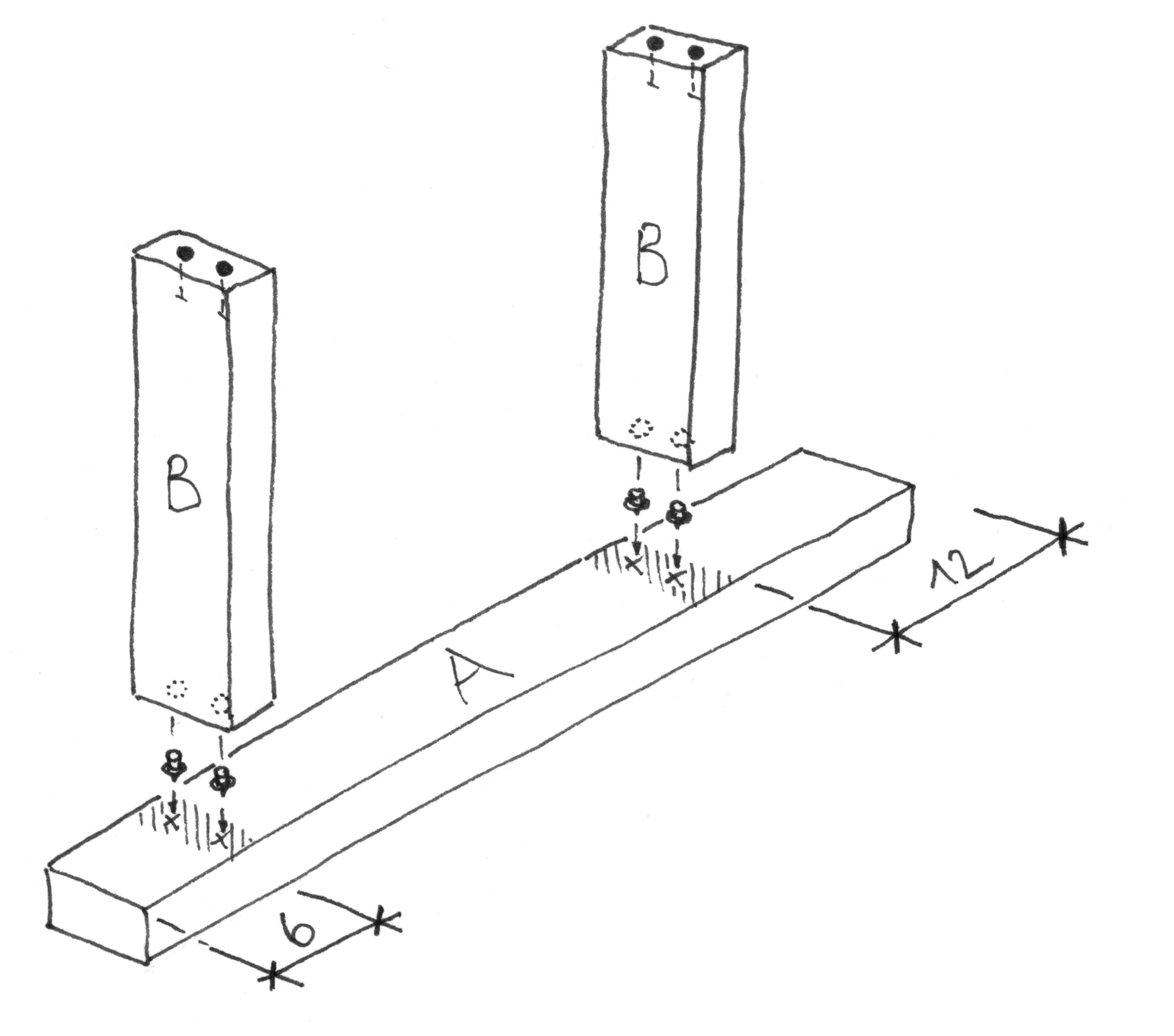
Schritt 3: Um die Löcher bei der Latte A möglichst gegenüber zu bohren, benutzt du am besten Dübelanreisser. Von der Skizze kannst du den Abstand entnehmen. Weil die Löcher nie exakt an derselben Stelle sind, markierst du dir am besten die Seiten der Bretter, die aufeinander kommen, mit Zahlen. Bohre nun in die Markierungen ein 15 mm tiefes Loch, am besten auch wieder mit Klebebandmarkierung am Bohrer oder mit einem Stopper.

Schritt: 4
Verbinde nun die Tischbeine und die Streben mit Dübeln und Leim.
Verbinde nun die Tischbeine und die Streben mit Dübeln und Leim.

Schritt 5:
Benutze Schraubzwingen oder z.B. einen Spanngurt, um die Teile zusammenzupressen. Der Leim braucht mindestens 30 min Austrocknungszeit.
Benutze Schraubzwingen oder z.B. einen Spanngurt, um die Teile zusammenzupressen. Der Leim braucht mindestens 30 min Austrocknungszeit.
Schritt 6:
Aus der Latte C musst du nun drei Schlitze heraussägen.
Aus der Latte C musst du nun drei Schlitze heraussägen.

Schritt 7:
Schneide die Latte D mit Hilfe des Templates zu.
Schneide die Latte D mit Hilfe des Templates zu.

Schritt 8:
Bohre, wie in der Skizze dargestellt, zwei Löcher in die Latte D. Das musst du bei beiden Latten D machen.
Bohre, wie in der Skizze dargestellt, zwei Löcher in die Latte D. Das musst du bei beiden Latten D machen.

Schritt 9:
Verbinde die beiden Latten D und das Teil E mit Dübeln und Leim.

Schritt 10:
Besorg dir eine passende Tischplatte. Wenn der Leim getrocknet ist, kannst du alle Teile zusammenstecken.
Besorg dir eine passende Tischplatte. Wenn der Leim getrocknet ist, kannst du alle Teile zusammenstecken.
