N°2 Nachttisch

Designer – David Jorquera
Zeitaufwand: ca. 4 h
Materialkosten: CHF 15
Schwierigkeit: ![]()

Dieser Nachttisch ist sehr einfach nachzubauen und hat sogar eine Schublade. Die Höhe kann individuell zugeschnitten werden, idealerweise auf dieselbe Höhe wie die des Betts.
Das Braucht’s:
Werkzeuge
Eine Säge (oder Stichsäge)
Massband oder Zollstock
Bleistift
Bohrer
Dübelanreisser
Holzleim
Material
Insgesamt brauchst du eine 3-Schichtplatte von 180 x 25 x 1.6 cm, aus der du dann alle Bretter ausschneiden kannst. Das kannst du auch im Baumarkt zuschneiden lassen.
2 (A) Bretter 35 x 25 x 1.6 cm
2 (B) Bretter 25 x 11.8 x 1.6 cm
2 (C) Bretter 31.4 x 11.8 x 1.6 cm
2 (D) Bretter 21.4 x 11 x 1.6 cm
1 (E) Brett 28.2 x 11 x 1.6 cm
4 (F) ergibt sich aus Reststück
1 (G) Brett 28.2 x 23 x 0.4 cm
28 Dübel (30 x 6 mm)
Ansichten

Schnittliste

Schritt 1:
Bohre, wie auf der Zeichnung dargestellt, 4 Löcher in beide Bretter B. Bohre die Löcher zwei Drittel der Länge des Dübels (bei einem 30 mm langen Dübel 20 mm) tief. Als Hilfe dafür kannst du die Tiefe mit einem Klebband markieren oder einen Stopper benutzen. Der Grund dafür ist, dass die Bretter nur 16 mm dick sind und die gegenüberliegenden Löcher sonst zu tief wären. Wie man Dübelverbindungen macht, kannst du auch in der Videoanleitung nachschauen.
Bohre, wie auf der Zeichnung dargestellt, 4 Löcher in beide Bretter B. Bohre die Löcher zwei Drittel der Länge des Dübels (bei einem 30 mm langen Dübel 20 mm) tief. Als Hilfe dafür kannst du die Tiefe mit einem Klebband markieren oder einen Stopper benutzen. Der Grund dafür ist, dass die Bretter nur 16 mm dick sind und die gegenüberliegenden Löcher sonst zu tief wären. Wie man Dübelverbindungen macht, kannst du auch in der Videoanleitung nachschauen.

Schritt 2:
Um die Löcher bei den Brettern A möglichst gegenüber zu bohren, benutzt du am besten Dübelanreisser. Achte darauf, das die Bretter B möglichst an der äussersten Kante von Brett A aufliegen. Diesen Schritt musst du bei beiden Brettern A wiederholen. Weil die Löcher nie exakt an derselben Stelle sind, markierst du dir am besten die Seiten der Bretter, die aufeinander kommen, mit Zahlen.
Um die Löcher bei den Brettern A möglichst gegenüber zu bohren, benutzt du am besten Dübelanreisser. Achte darauf, das die Bretter B möglichst an der äussersten Kante von Brett A aufliegen. Diesen Schritt musst du bei beiden Brettern A wiederholen. Weil die Löcher nie exakt an derselben Stelle sind, markierst du dir am besten die Seiten der Bretter, die aufeinander kommen, mit Zahlen.

Schritt 3:
Bohre nun in die Markierungen ein 10 mm tiefes Loch, am besten auch wieder mit Klebebandmarkierung am Bohrer oder mit einem Stopper.
Bohre nun in die Markierungen ein 10 mm tiefes Loch, am besten auch wieder mit Klebebandmarkierung am Bohrer oder mit einem Stopper.

Schritt 4:
Bohre, wie auf der Zeichnung dargestellt, 4 Löcher in eines der Bretter C. Bohre die Löcher zwei Drittel der Länge des Dübels (bei einem 30 mm langen Dübel 20 mm) tief.
Bohre, wie auf der Zeichnung dargestellt, 4 Löcher in eines der Bretter C. Bohre die Löcher zwei Drittel der Länge des Dübels (bei einem 30 mm langen Dübel 20 mm) tief.

Schritt 5:
Benutze wieder Dübelanreisser, um die Löcher bei Teil A möglichst gegenüber zu bohren. Achte darauf, dass das Brett C möglichst an der äussersten Kante von Brett A und zwischen den Brettern B aufliegt.
Benutze wieder Dübelanreisser, um die Löcher bei Teil A möglichst gegenüber zu bohren. Achte darauf, dass das Brett C möglichst an der äussersten Kante von Brett A und zwischen den Brettern B aufliegt.

Schritt 6:
Vor dem Leimen ist es immer gut, wenn man zuerst alles probesteckt. Wenn alles passt, kannst du nun mit Dübeln und Leim die Teile A, B und C miteinander verbinden.
Vor dem Leimen ist es immer gut, wenn man zuerst alles probesteckt. Wenn alles passt, kannst du nun mit Dübeln und Leim die Teile A, B und C miteinander verbinden.

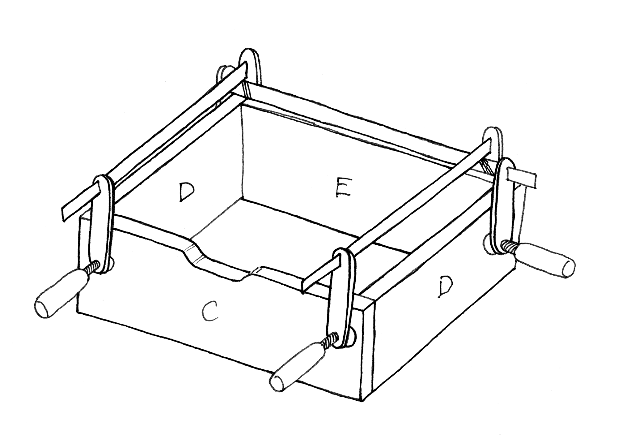
Schritt 7:
Benutze Schraubzwingen oder z.B. einen Spanngurt, um die Teile zusammenzupressen. Der Leim braucht mindestens 30 min Austrocknungszeit.
Benutze Schraubzwingen oder z.B. einen Spanngurt, um die Teile zusammenzupressen. Der Leim braucht mindestens 30 min Austrocknungszeit.

Schritt 8:
Nun beginnen wir mit dem Bau der Schublade. Schneide aus dem zweiten Brett C einen Schlitz aus. Dieser dient später zum Öffnen der Schublade. Wie man Schlitze ausschneidet, kannst du in der Videoanleitung nachschauen.
Nun beginnen wir mit dem Bau der Schublade. Schneide aus dem zweiten Brett C einen Schlitz aus. Dieser dient später zum Öffnen der Schublade. Wie man Schlitze ausschneidet, kannst du in der Videoanleitung nachschauen.

Schritt 9:
Bohre, wie auf der Zeichnung dargestellt, 4 Löcher in das Brett E. Bohre die Löcher zwei Drittel der Länge des Dübels (bei einem 30 mm langen Dübel 20 mm) tief.
Bohre, wie auf der Zeichnung dargestellt, 4 Löcher in das Brett E. Bohre die Löcher zwei Drittel der Länge des Dübels (bei einem 30 mm langen Dübel 20 mm) tief.

Schritt 10:
Benutze wieder Dübelanreisser, um die Löcher bei Teil D möglichst gegenüber zu bohren. Achte darauf, dass das Brett E möglichst an der äussersten Kante von Brett D aufliegt.
Benutze wieder Dübelanreisser, um die Löcher bei Teil D möglichst gegenüber zu bohren. Achte darauf, dass das Brett E möglichst an der äussersten Kante von Brett D aufliegt.

Schritt 11:
Bohre in Brett D die markierten Löcher und zusätzlich noch zwei Löcher stirnseitig. Bohre die markierten Löcher 10 mm tief, und die stirnseitigen Löcher 20 mm tief.
Bohre in Brett D die markierten Löcher und zusätzlich noch zwei Löcher stirnseitig. Bohre die markierten Löcher 10 mm tief, und die stirnseitigen Löcher 20 mm tief.

Schritt 12:
Verbinde die Bretter D und E mit Dübeln und Leim.
Verbinde die Bretter D und E mit Dübeln und Leim.

Schritt 13:
Gleich anschliessend musst du das Brett G an die verbundenen Bretter D und E anleimen, damit die Abstände überall stimmen. Hiefür braucht es ausnahmsweise keine Dübel. Das Brett G bildet den Boden der Schublade.
Gleich anschliessend musst du das Brett G an die verbundenen Bretter D und E anleimen, damit die Abstände überall stimmen. Hiefür braucht es ausnahmsweise keine Dübel. Das Brett G bildet den Boden der Schublade.

Schritt 14:
Nach dem Austrocknen kannst du nun mit Hilfe von Dübelanreissern die Löcher für das Brett C markieren und diese anschliessend 10 mm tief bohren.
Nach dem Austrocknen kannst du nun mit Hilfe von Dübelanreissern die Löcher für das Brett C markieren und diese anschliessend 10 mm tief bohren.

Schritt 15:
Verbinde das Brett C mit dem Korpus der Schublade mit Dübeln und Leim.
Verbinde das Brett C mit dem Korpus der Schublade mit Dübeln und Leim.

Schritt 16:
Benutze Schraubzwingen oder z.B. einen Spanngurt, um die Teile zusammenzupressen. Der Leim braucht mindestens 30 min Austrocknungszeit.
Benutze Schraubzwingen oder z.B. einen Spanngurt, um die Teile zusammenzupressen. Der Leim braucht mindestens 30 min Austrocknungszeit.

Schritt 18:
Bohre zwei Löcher in das breitere Ende der Teile F (20 mm tief).
Bohre zwei Löcher in das breitere Ende der Teile F (20 mm tief).

Schritt 19:
Benutze wieder Dübelanreisser, um die Löcher bei Teil A möglichst gegenüber zu bohren. Achte darauf, dass die Teile F 8 x 8 cm und in einem 45°-Winkel zu den Ecken stehen. Bohre die markierten Löcher 10 mm tief und verbinde anschliessend alles mit Dübeln und Leim.
Benutze wieder Dübelanreisser, um die Löcher bei Teil A möglichst gegenüber zu bohren. Achte darauf, dass die Teile F 8 x 8 cm und in einem 45°-Winkel zu den Ecken stehen. Bohre die markierten Löcher 10 mm tief und verbinde anschliessend alles mit Dübeln und Leim.


