N°3 Sideboard

Designer – David Jorquera
Zeitaufwand: ca. 8 h
Materialkosten: CHF 140
Schwierigkeit: ![]()

Dieses Sideboard ist minimalistisch, praktisch, einfach nachzubauen und hat sogar Schiebetüren. Die Länge kann individuell angepasst werden. Durch die geringe Höhe und Breite, sollte es gut möglich sein, das Möbelstück bei einem Umzug einfach zu transportieren. Falls man es aber noch praktischer für den Umzug bauen möchte, könnte man es zweiteilig machen. Dafür braucht es nur ein weiteres Teil C, und man müsste Teil A halbieren.
Das Braucht’s:
Werkzeuge
Eine Säge (oder Stichsäge)
Massband oder Zollstock
Bleistift
Bohrer
Dübelanreisser
Holzleim
Hammer
Material
Die Teile A, B und C bestehen aus einer Fichten- 3-Schichtplatte, 16 mm. Die Teile D und E machst du am besten aus einer dünneren Fichtenholzplatte z.B. 5 mm Fichtensperrholz. Ich würde generell darauf achten, immer beim gleichen Holz zu bleiben, es sei denn, du möchtest sowieso das ganze Möbelstück farbig lackieren.
1 (A) Brett 200 x 35 x 1.6 cm
2 (B) Bretter 97.6 x 35 x 1.6 cm
3 (C) Bretter 48.4 x 35 x 1.6 cm
4 (D) Bretter 50 x 34.8 x 0.5 cm
1 (E) Brett 200 x 38 x 0.5 cm
12 (F) Leisten 0.4 x 0.4 x 100 cm
14 Dübel (30 x 6 mm)
1 Schachtel kleine Holznägel min. 15 mm lang
Ansicht

Schnittliste


Schritt 1:
Bohre, wie auf der Zeichnung dargestellt, 2 Löcher in alle drei Bretter C. Bohre die Löcher zwei Drittel der Länge des Dübels (bei einem 30 mm langen Dübel 20 mm) tief. Als Hilfe dafür kannst du die Tiefe mit einem Klebband markieren oder einen Stopper benutzen. Der Grund dafür ist, dass die Bretter nur 16 mm dick sind und die gegenüberliegenden Löcher sonst zu tief wären. Wie man Dübelverbindungen macht, kannst du auch in der Videoanleitung nachschauen.
Bohre, wie auf der Zeichnung dargestellt, 2 Löcher in alle drei Bretter C. Bohre die Löcher zwei Drittel der Länge des Dübels (bei einem 30 mm langen Dübel 20 mm) tief. Als Hilfe dafür kannst du die Tiefe mit einem Klebband markieren oder einen Stopper benutzen. Der Grund dafür ist, dass die Bretter nur 16 mm dick sind und die gegenüberliegenden Löcher sonst zu tief wären. Wie man Dübelverbindungen macht, kannst du auch in der Videoanleitung nachschauen.

Schritt 2:
Um die Löcher beim Brett A möglichst gegenüber zu bohren, benutzt du am besten Dübelanreisser. Achte darauf, dass die Bretter C möglichst an der äussersten Kante von Brett A aufliegen bzw. in der Mitte. Weil die Löcher nie exakt an derselben Stelle sind, markierst du dir am besten die Seiten der Bretter, die aufeinander kommen, mit Zahlen. Bohre nun in die Markierungen ein 10 mm tiefes Loch, am besten auch wieder mit Klebebandmarkierung am Bohrer oder mit einem Stopper.
Um die Löcher beim Brett A möglichst gegenüber zu bohren, benutzt du am besten Dübelanreisser. Achte darauf, dass die Bretter C möglichst an der äussersten Kante von Brett A aufliegen bzw. in der Mitte. Weil die Löcher nie exakt an derselben Stelle sind, markierst du dir am besten die Seiten der Bretter, die aufeinander kommen, mit Zahlen. Bohre nun in die Markierungen ein 10 mm tiefes Loch, am besten auch wieder mit Klebebandmarkierung am Bohrer oder mit einem Stopper.

Schritt 3:
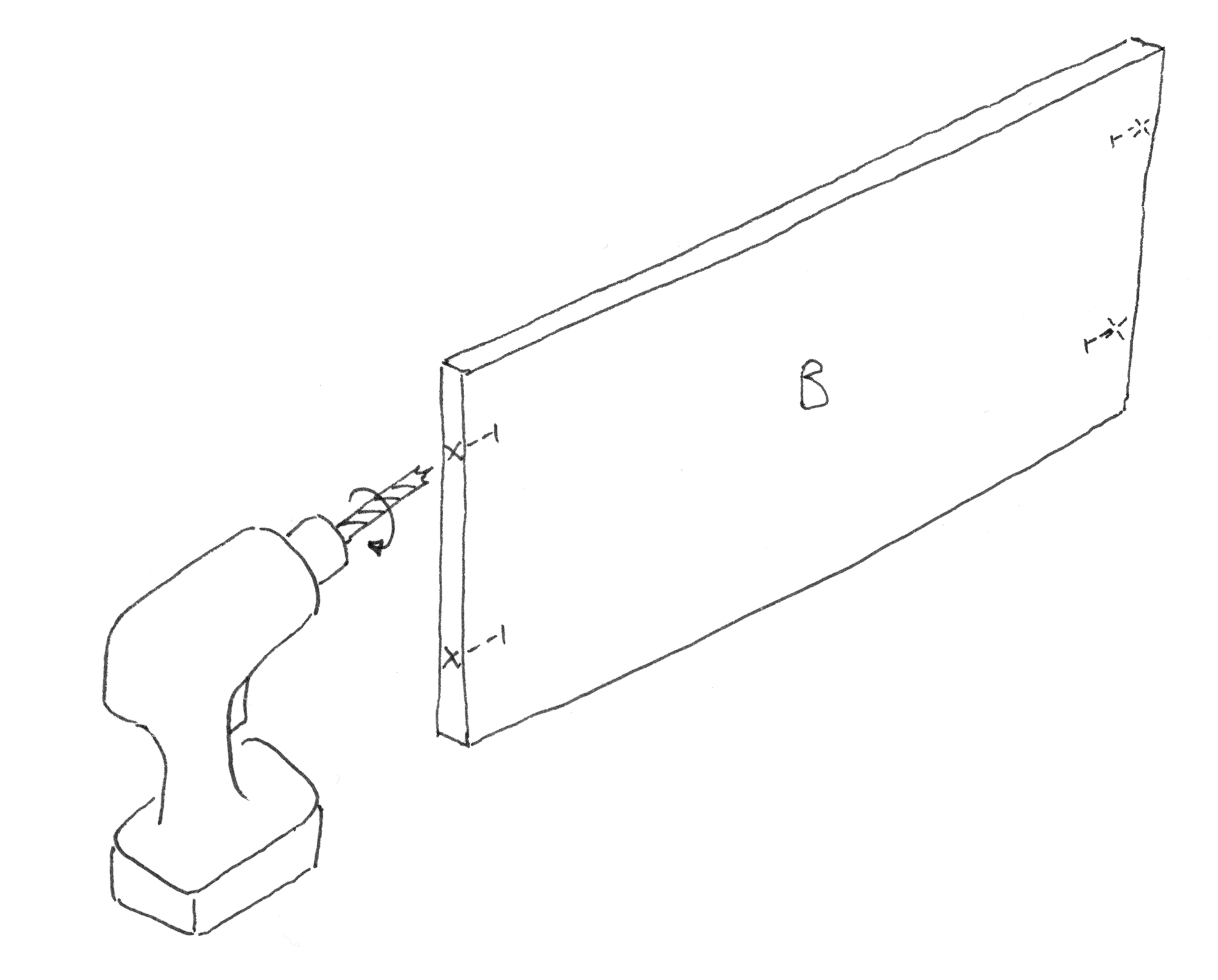
Bohre, wie auf der Zeichnung dargestellt, 4 Löcher in beide Bretter B. Bohre die Löcher zwei Drittel der Länge des Dübels (bei einem 30 mm langen Dübel 20 mm) tief.
Bohre, wie auf der Zeichnung dargestellt, 4 Löcher in beide Bretter B. Bohre die Löcher zwei Drittel der Länge des Dübels (bei einem 30 mm langen Dübel 20 mm) tief.

Schritt 4:
Benutze wieder Dübelanreisser, um die Löcher bei den Teilen C möglichst gegenüber zu bohren. Achte darauf, dass das Brett B 12 cm Abstand zur kurzen Kante der Bretter C hat.
Benutze wieder Dübelanreisser, um die Löcher bei den Teilen C möglichst gegenüber zu bohren. Achte darauf, dass das Brett B 12 cm Abstand zur kurzen Kante der Bretter C hat.

Schritt 5:
Vor dem Leimen ist es immer gut, wenn man zuerst alles probesteckt. Wenn alles passt, kannst du nun mit Dübeln und Leim die Teile A, B und C miteinander verbinden. Benutze Schraubzwingen oder z.B. einen Spanngurt, um die Teile zusammenzupressen. Der Leim braucht mindestens 30 min Austrocknungszeit.
Vor dem Leimen ist es immer gut, wenn man zuerst alles probesteckt. Wenn alles passt, kannst du nun mit Dübeln und Leim die Teile A, B und C miteinander verbinden. Benutze Schraubzwingen oder z.B. einen Spanngurt, um die Teile zusammenzupressen. Der Leim braucht mindestens 30 min Austrocknungszeit.

Schritt 6:
Nach dem Austrocknen des Leims kannst du die Rückwand montieren. Am besten kippst du das Sideboard auf die Seite. Benutze kleine Holznägel und einen Hammer, um die Rückwand zu befestigen.
Nach dem Austrocknen des Leims kannst du die Rückwand montieren. Am besten kippst du das Sideboard auf die Seite. Benutze kleine Holznägel und einen Hammer, um die Rückwand zu befestigen.
Schritt 7:
Um eine Führungsschiene für die Schiebetüren zu bauen, brauchst du nun die Leisten F. Diese klebst du mit Holzleim unten an die Vorderkante der Teile B und oben an die Vorderkante von Teil A. Den Zwischenraum zwischen den Leisten nennt man Nut. Eine Nut könntest du auch mit Hilfe einer Oberfräse machen, falls du eine hast oder weisst, wie man eine benutzt. Achte darauf, dass der Abstand zwischen den Leisten ein bisschen grösser ist als die Dicke der Schiebetüren, damit sie nacher noch genügend Spiel haben.
Um eine Führungsschiene für die Schiebetüren zu bauen, brauchst du nun die Leisten F. Diese klebst du mit Holzleim unten an die Vorderkante der Teile B und oben an die Vorderkante von Teil A. Den Zwischenraum zwischen den Leisten nennt man Nut. Eine Nut könntest du auch mit Hilfe einer Oberfräse machen, falls du eine hast oder weisst, wie man eine benutzt. Achte darauf, dass der Abstand zwischen den Leisten ein bisschen grösser ist als die Dicke der Schiebetüren, damit sie nacher noch genügend Spiel haben.

Schritt 8:
Mach einen Griff / Schlitz in alle vier Schiebetüren, nach deinem Geschmack.
Mach einen Griff / Schlitz in alle vier Schiebetüren, nach deinem Geschmack.

Schritt 9:
Die Schiebetüren montierst du am besten in der Mitte der Unterteilung, weil sich dort die Deckplatte und die untere Platte am besten auseinanderdrücken lassen. Die erste Schiebetüre muss in die hintere Nut eingeführt werden und die zweite davor.
Die Schiebetüren montierst du am besten in der Mitte der Unterteilung, weil sich dort die Deckplatte und die untere Platte am besten auseinanderdrücken lassen. Die erste Schiebetüre muss in die hintere Nut eingeführt werden und die zweite davor.
