N°1 Bett - gesteckt
Designer – David Jorquera
Zeitaufwand: ca. 4 h
Materialkosten: 90er Bett ca. CHF 60
140er Bett ca. CHF 100
Schwierigkeit: ![]()

Dieses Bett besteht komplett aus Steckverbindungen und benötigt weder Schrauben noch Leim. Das einzige Hilfsmittel zur Aussteifung des Bettgestells, das zum Einsatz kommt, sind Keile. Steckverbindungen sind eine sehr simple Verbindung. Man braucht nur Schlitze aus den Brettern zu schneiden, die so breit sind wie die Dicke der Bretter.
Das Braucht’s:
Werkzeuge
eine Säge (oder Stichsäge)
Massband oder Zollstock
Bleistift
Bohrer
Heftgerät (oder kurze Nägel)
Dübelanreisser
Material 140er Bett
3 Bretter 200 x 10 cm, Fichten-
3-Schichtplatte 16 mm
2 Bretter 140 x 20 cm, Fichten-
3-Schichtplatte 16 mm
12 Latten 140 cm, Dachlatte 2 x 4.5 cm
2 Flachkordel 200 cm
6 Dübel 30 x 6 mm
Material 90er Bett
2 Bretter 200 x 10 cm, Fichten-
3-Schichtplatte 16 mm
2 Bretter 90 x 20 cm, Fichten-
3-Schichtplatte 16 mm
12 Latten 90 cm, Dachlatte 2 x 4.5 cm
2 Flachkordel 200 cm
4 Dübel 30 x 6 mm
Schnittliste

Je nach Bettgrösse, die man braucht, ist der Aufbau wenig anders. Bei einem Einzelbett von 90 cm braucht es nur zwei längs aufliegende Bretter. Bei einem Doppelbett von 140 - 200 cm braucht es 3 längs aufliegende Bretter.
Von den Querbrettern sollten zwei reichen. Diese haben das gleiche Mass wie die gewünschte Bettbreite.

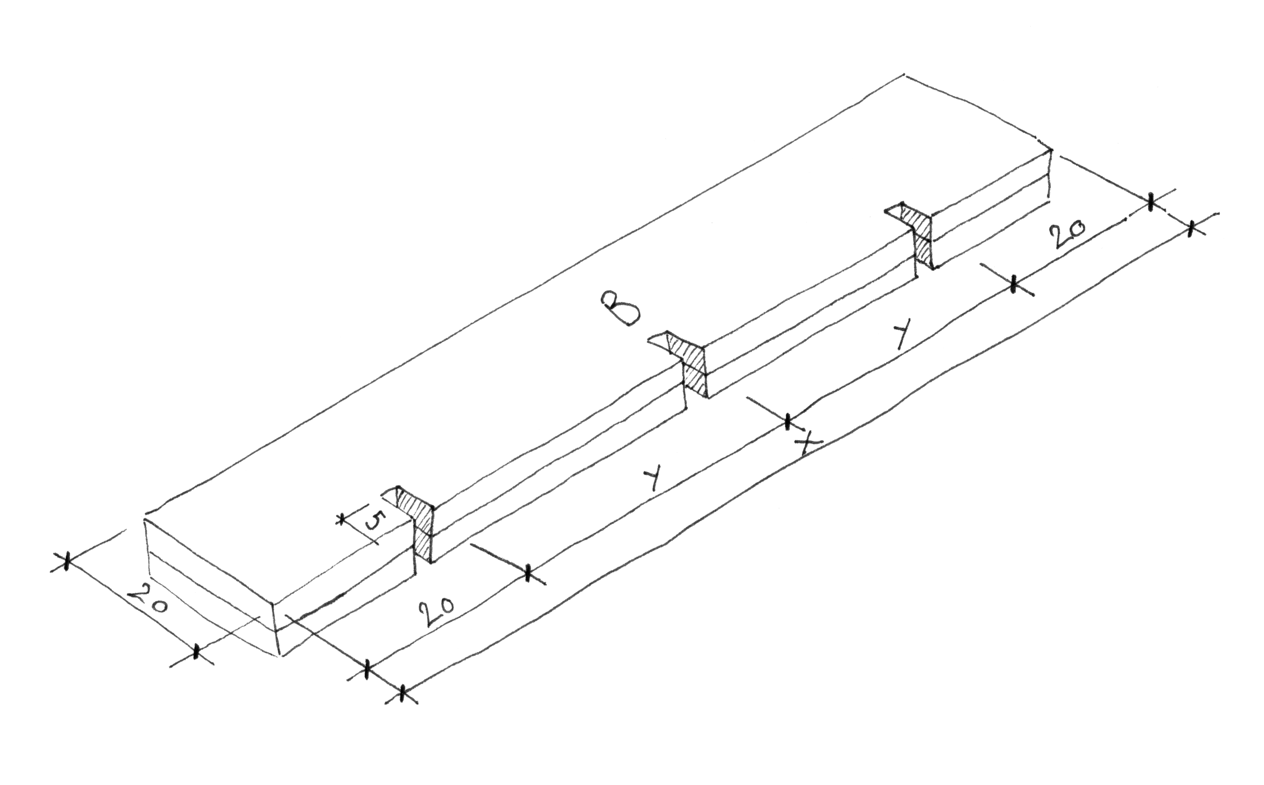
Schritt 1:
Als Erstes musst du aus den Brettern A Schlitze ausschneiden. Die Schlitze sind so breit wie die Dicke der Bretter. Also in diesem Beispiel 16 mm breit und 5 cm lang. Die Position der Schlitze kannst du der Skizze entnehmen. Zeichne dir die Schlitze vor dem Ausschneiden an, als Führungshilfe zum Sägen. Zum Zeitsparen, kannst du dir alle Bretter A zusammenklemmen, um alle Schlitze in einem Schritt auszuschneiden. Versuche, möglichst genau zu schneiden. Schlitz ausschneiden
Als Erstes musst du aus den Brettern A Schlitze ausschneiden. Die Schlitze sind so breit wie die Dicke der Bretter. Also in diesem Beispiel 16 mm breit und 5 cm lang. Die Position der Schlitze kannst du der Skizze entnehmen. Zeichne dir die Schlitze vor dem Ausschneiden an, als Führungshilfe zum Sägen. Zum Zeitsparen, kannst du dir alle Bretter A zusammenklemmen, um alle Schlitze in einem Schritt auszuschneiden. Versuche, möglichst genau zu schneiden. Schlitz ausschneiden
Schritt 2:
Dasselbe machst du jetzt noch einmal für die Bretter B. 90 cm breites Bett:Es reichen zwei Schlitze, die je 20 cm von der Stirnseite des Bretts entfernt sind. 120 - 200 cm breites Bett:Ein Bett dieser Breite benötigt drei Schlitze. Die äusseren zwei sind je 20 cm von der Stirnseite entfernt. Der mittlere Schlitz liegt genau in der Hälfte des Bretts.
Dasselbe machst du jetzt noch einmal für die Bretter B. 90 cm breites Bett:Es reichen zwei Schlitze, die je 20 cm von der Stirnseite des Bretts entfernt sind. 120 - 200 cm breites Bett:Ein Bett dieser Breite benötigt drei Schlitze. Die äusseren zwei sind je 20 cm von der Stirnseite entfernt. Der mittlere Schlitz liegt genau in der Hälfte des Bretts.
Schritt 3:
Neben den Schlitzen von Brett B musst du zusätzlich noch ein keilförmiges Stück wegschneiden. Dort wird am Schluss beim Zusammenbauen des Betts ein Keil eingeschlagen, der alles zusätzlich stabilisiert.
Neben den Schlitzen von Brett B musst du zusätzlich noch ein keilförmiges Stück wegschneiden. Dort wird am Schluss beim Zusammenbauen des Betts ein Keil eingeschlagen, der alles zusätzlich stabilisiert.
Schritt 4:
Jetzt wird alles zusammengebaut. Stecke die Bretter A von oben auf die Bretter B.

So sollte es aussehen.

Schritt 5:
Schneide dir Latten auf die Länge deiner Bettbreite zurecht. Du brauchst mindestens 12 Stück. Aus diesen Latten wird später dein Lattenrost.
Schneide dir Latten auf die Länge deiner Bettbreite zurecht. Du brauchst mindestens 12 Stück. Aus diesen Latten wird später dein Lattenrost.

Schritt 6:
Bohre an den Enden der Längsverstrebungen auf beiden Seiten ein Loch.
Bohre an den Enden der Längsverstrebungen auf beiden Seiten ein Loch.

Schritt 7:
Benutze Dübelanreisser, um dir die Positionen der Löcher auf der Anfangs- und Endlatte zu markieren und bohre diese Löcher im Anschluss.
Benutze Dübelanreisser, um dir die Positionen der Löcher auf der Anfangs- und Endlatte zu markieren und bohre diese Löcher im Anschluss.

Schritt 8:
Verbinde mit dem Heftgerät alle Latten mit den beiden Flachkordeln. Der Abstand zwischen den Latten sollte 13.3 cm gross sein. Achte darauf, dass die Latten, in die du im Schritt 7 je 3 Löcher gebohrt hast, am Anfang bzw. am Ende sind.
Verbinde mit dem Heftgerät alle Latten mit den beiden Flachkordeln. Der Abstand zwischen den Latten sollte 13.3 cm gross sein. Achte darauf, dass die Latten, in die du im Schritt 7 je 3 Löcher gebohrt hast, am Anfang bzw. am Ende sind.

Schritt 9:
Stecke alle Teile zusammen. Um den Lattenrost an Ort und Stelle zu behalten, steckst du nun Dübel in die Löcher, ohne Leim.
Stecke alle Teile zusammen. Um den Lattenrost an Ort und Stelle zu behalten, steckst du nun Dübel in die Löcher, ohne Leim.

Schritt 10:
Schlage die Keile mit einem Hammer ein.
Schlage die Keile mit einem Hammer ein.






