N°5 Stuhl

Designer – David Jorquera
Zeitaufwand: ca. 10 h
Materialkosten: 30 CHF
Schwierigkeit: ![]()

Dieser Stuhl ist sehr einfach gehalten, ohne Stabilität und Komfort einzubüssen. Es ist ein sogenannter Kreuzzargenstuhl. Die Konstruktionsweise erlaubt es, Verstrebungen wegzulassen und somit Material einzusparen. Die Rückenlehne und Sitzfläche werden durch Formverleimen in die gewünschte Form gebracht. Keine Sorge, Holzbiegen ist kinderleicht!
Das Braucht’s:
Werkzeuge
Eine Säge (oder Stichsäge)
Massband oder Zollstock
Bleistift
Bohrer
Dübelanreisser
Material
Insgesamt brauchst du 3.38 m (6 x 3 cm) Latten,die du dann auf die richtige Länge zuschneidest.
2 Latten 78 x 6 x 3 cm
2 Latten 47 x 6 x 3 cm
2 Latten 44 x 6 x 3 cm
2 Sperrholz-Bretter 38 x 42 cm
max. 6 mm dick
2 Sperrholz- Bretter 27 x 42 cm
max. 6 mm dick
16 Dübel (30 x 6 mm)
Schnittliste
Schritt 1:
Um eine leichtere Optik des Stuhls zu erlangen, habe ich die Beine verjüngt. Ob du das auch machen möchtest, ist dir überlassen. Aus Teil C musst du einen Schlitz heraussägen. Für Teil A, B und C musst du den Schritt jeweils zweimal machen.
Um eine leichtere Optik des Stuhls zu erlangen, habe ich die Beine verjüngt. Ob du das auch machen möchtest, ist dir überlassen. Aus Teil C musst du einen Schlitz heraussägen. Für Teil A, B und C musst du den Schritt jeweils zweimal machen.

Schritt: 2
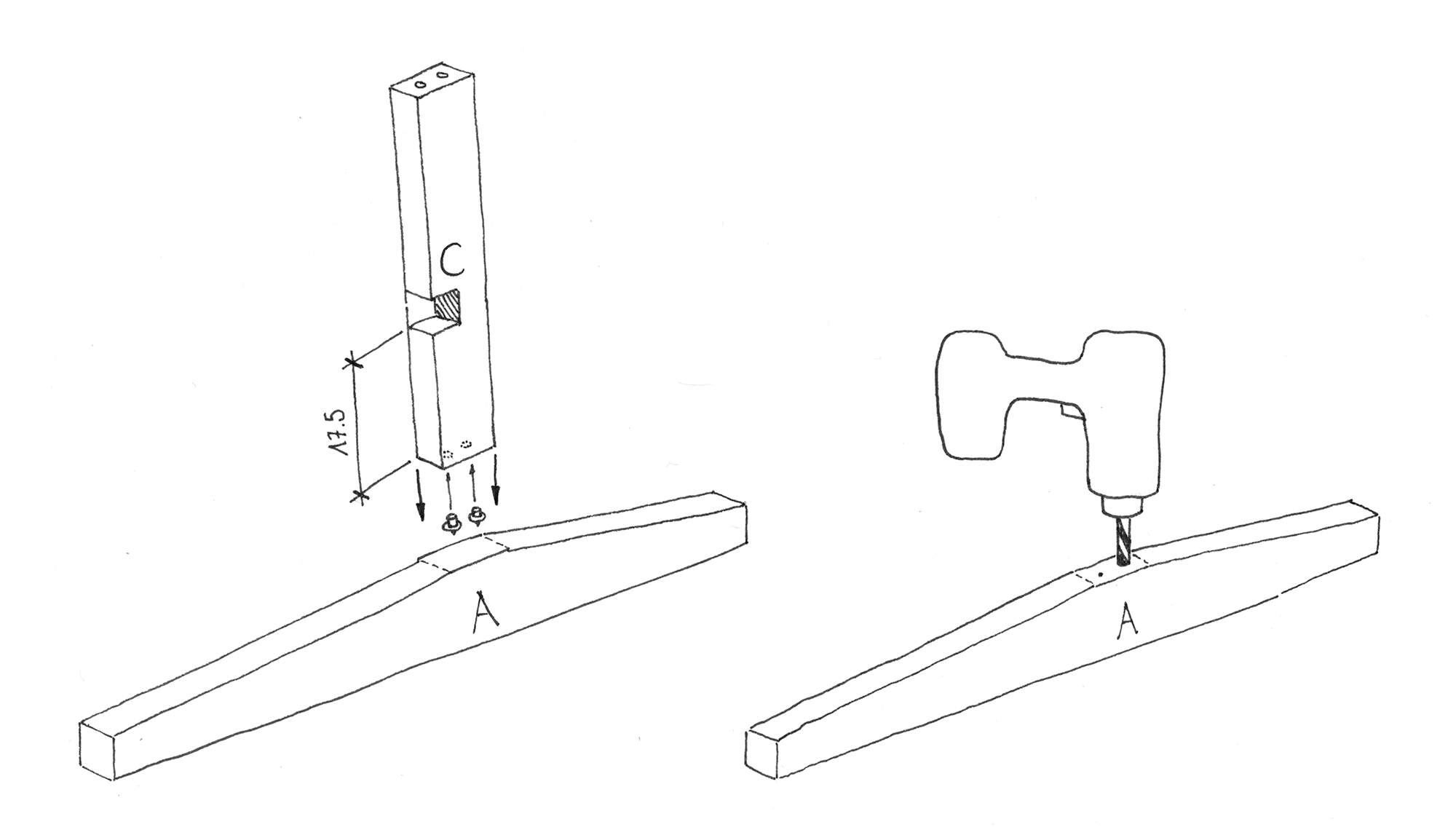
Um die Stuhlbeine mit den Zargen verbinden zu können, musst du Löcher für die Dübel bohren. Bohre die Löcher halb so tief wie die Dübel lang sind. Als Hilfe dafür kannst du die Tiefe mit einem Klebband markieren oder einen Stopper benutzen. Dübel Verbindungen
Um die Stuhlbeine mit den Zargen verbinden zu können, musst du Löcher für die Dübel bohren. Bohre die Löcher halb so tief wie die Dübel lang sind. Als Hilfe dafür kannst du die Tiefe mit einem Klebband markieren oder einen Stopper benutzen. Dübel Verbindungen

Schritt 3:
Um die Löcher bei Teil C möglichst gegenüber zu bohren, benutzt du am besten Dübelanreisser. Auch wenn du diesen Schritt wieder zweimal machen musst, ist es nicht genau dasselbe. Der ausgesägte Schlitz schaut einmal nach unten und einmal nach oben.
Um die Löcher bei Teil C möglichst gegenüber zu bohren, benutzt du am besten Dübelanreisser. Auch wenn du diesen Schritt wieder zweimal machen musst, ist es nicht genau dasselbe. Der ausgesägte Schlitz schaut einmal nach unten und einmal nach oben.
Schritt 4:
Auf der Seite, wo du die Position der Löcher angerissen hast, bohrst du wie gewohnt die halbe Tiefe des Dübels (bei 30 mm Dübeln 15 mm Tiefe). Auf der anderen Seite von Teil C kannst du dir anzeichnen, wo du bohren musst. Beachte immer, dass die Ausrichtung von Teil C korrekt bleibt. Ansonsten wird es sehr mühsam zu dübeln.
Auf der Seite, wo du die Position der Löcher angerissen hast, bohrst du wie gewohnt die halbe Tiefe des Dübels (bei 30 mm Dübeln 15 mm Tiefe). Auf der anderen Seite von Teil C kannst du dir anzeichnen, wo du bohren musst. Beachte immer, dass die Ausrichtung von Teil C korrekt bleibt. Ansonsten wird es sehr mühsam zu dübeln.

Schritt 5:
Dieses Mal steckst du die Dübelanreisser auf die Seite von Teil C, die einen kürzeren Abstand zum Schlitz hat, um die Löcher auf Teil A zu markieren.
Dieses Mal steckst du die Dübelanreisser auf die Seite von Teil C, die einen kürzeren Abstand zum Schlitz hat, um die Löcher auf Teil A zu markieren.

Schritt 6:
Mit Dübeln und Leim kannst du nun die Teile A, B und C miteinander verbinden. Benutze eine Schraubzwinge oder z.B. einen Spanngurt, um die Teile zusammenzupressen. Der Leim braucht mindestens 30 min Austrocknungszeit. Anschliessend kannst du die beiden Teile ineinander stecken und auch wieder an den Berührungspunkten miteinander verleimen.
Mit Dübeln und Leim kannst du nun die Teile A, B und C miteinander verbinden. Benutze eine Schraubzwinge oder z.B. einen Spanngurt, um die Teile zusammenzupressen. Der Leim braucht mindestens 30 min Austrocknungszeit. Anschliessend kannst du die beiden Teile ineinander stecken und auch wieder an den Berührungspunkten miteinander verleimen.

Schritt 7:
Als Nächstes kümmern wir uns um die Sitzfläche und Rückenlehne. Die kleineren zwei Sperrhölzer bilden die Rückenlehne, die grösseren zwei bilden die Sitzfläche. Zum Verleimen wird vollflächig PUR-Leim aufgetragen. Die Biegung der Rückenlehne bekommst du hin, indem du an beiden Enden der Holzplatte eine Latte unterlegst und in der Mitte die Platte auf eine Tischplatte oder Holzplatte zwängst. Bei der Sitzfläche musst du nur an einem Ende eine Latte unterlegen und nicht allzu weit davon entfernt mit einer aufliegenden Latte nach unten zwängen.

Schritt 8:
Schneide die Rückenlehe und die Sitzfläche auf deine Vorlieben zu. Du kannst dich ruhig auch von anderen Stühlen inspirieren lassen.
Schneide die Rückenlehe und die Sitzfläche auf deine Vorlieben zu. Du kannst dich ruhig auch von anderen Stühlen inspirieren lassen.

Schritt 9:
Bohre vier Löcher, um die Sitzfläche anzudübeln. Achte dabei auf die Dicke der Sitz-Holzplatte. Du solltest nicht tiefer als zwei Drittel dieser Dicke hineinbohren. Dementsprechend musst du etwas tiefer in die Stuhl-Unterkonstruktion bohren. Benutze wieder Dübelanreisser, um die Positionen der Löcher an der Sitzunterfläche zu markieren. Zum Schluss werden Unterkonstruktion, Dübel und Sitzfläche verleimt.
Bohre vier Löcher, um die Sitzfläche anzudübeln. Achte dabei auf die Dicke der Sitz-Holzplatte. Du solltest nicht tiefer als zwei Drittel dieser Dicke hineinbohren. Dementsprechend musst du etwas tiefer in die Stuhl-Unterkonstruktion bohren. Benutze wieder Dübelanreisser, um die Positionen der Löcher an der Sitzunterfläche zu markieren. Zum Schluss werden Unterkonstruktion, Dübel und Sitzfläche verleimt.

Schritt 10:
Um die Rückenlehne zu montieren, musst du die Unterkonstruktion noch ein bisschen anpassen. Um den passenden Winkel zu definieren, den du nacher absägen musst, hälst du am besten die Rückenlehne als Referenz hin und zeichnest mit den Bleistift an.
Um die Rückenlehne zu montieren, musst du die Unterkonstruktion noch ein bisschen anpassen. Um den passenden Winkel zu definieren, den du nacher absägen musst, hälst du am besten die Rückenlehne als Referenz hin und zeichnest mit den Bleistift an.

Schritt 11:
Bohre in beide Streben je zwei Löcher. Benutze wieder die Dübelanreisser, und leime zuletzt die Rückenlehne an den Stuhl. Als Nächstes musst du nur noch entscheiden, was für eine Oberflächenbehandlung du anwenden möchtest.
Bohre in beide Streben je zwei Löcher. Benutze wieder die Dübelanreisser, und leime zuletzt die Rückenlehne an den Stuhl. Als Nächstes musst du nur noch entscheiden, was für eine Oberflächenbehandlung du anwenden möchtest.


